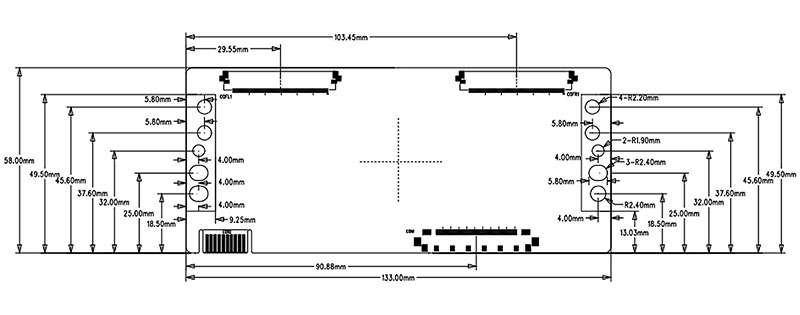
N4TC546UHDD07-C-T_K0
请务必注意以下事项,安全使用本产品,评估并确认您的电视机与此产品是否匹配。 (1) 由于本产品采用CMOS集成电路,因此在处理时要注意防静电并考虑人身安全。 (2) 由于使用SMT(表面贴装)零件,因此请勿使产品翘曲、跌落、撞击和PWB上打孔。 (3) 我们使用QFP封装IC,不要从PWB的顶部和底部施加压力。 (4)将PWB组装到产品中时,应将PWB的孔固定在同一平面上,并避免扭曲。(5)当您将连接线插入或断开电路板上的连接器时,请务必关闭电源, 否则可能会损坏零件......






